Fitur
| Aplikasi
|
Blog










Fitur
| Aplikasi
|
Peringkat Maksimum Mutlak
(Kecuali dinyatakan lain: Ta = 25 ℃)
| PARAMETER | SIMBOL | MIN | MAX | UNIT |
| Tegangan Input | VIN | -0.3 | 40 | V |
| Tegangan Keluaran | VOUT | Vss-0.3 | VIN + 0.3V | |
| Pembuangan Daya | PD(1) | SOT 89 1000 KE 252 1800 SOT 223 1500 | mW | |
| Suhu Lingkungan Pengoperasian | Topr | -40 | 85 | ℃ |
| Suhu Penyimpanan | Tstg | -40 | 125 | |
| Perlindungan ESD | ESD HBM | 2000 | V |
Catatan: Ini hanyalah parameter batas, di luar kisaran yang ditentukan dalam Peringkat Maksimum Mutlak dapat menyebabkan kerusakan serius pada peralatan, pemaparan yang terlalu lama pada kondisi ekstrem dapat memengaruhi keandalan perangkat.
(1) Meningkatkan area pengelasan paket bermanfaat untuk meningkatkan konsumsi daya
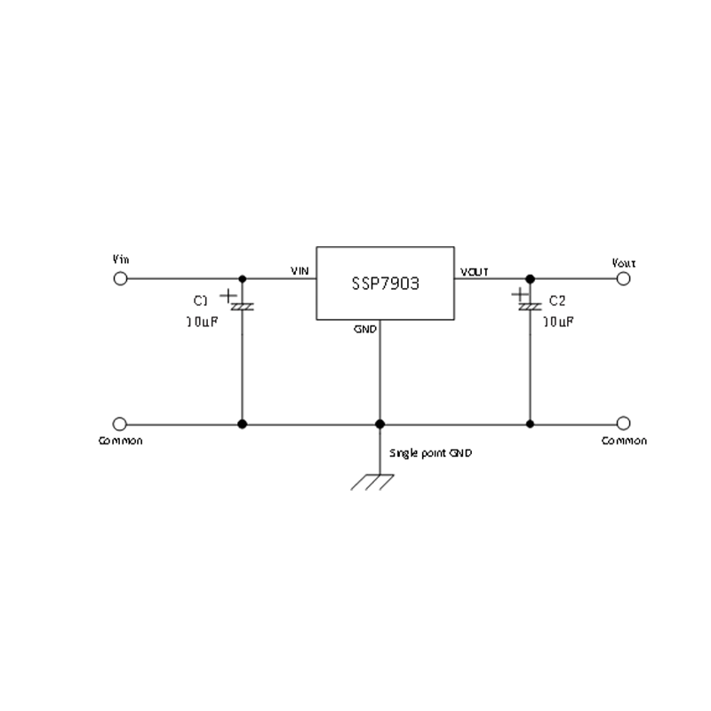
Karakteristik Listrik
Seri SSP7903 (Kecuali dinyatakan lain: Ta = 25 ℃)
| PARAMETER | SIMBOL | KONDISI | MIN | TYP | MAX | UNIT | ||
| Tegangan Output1 | VOUT(S) | VIN = VOUT (S) + 220V, OUT = 10mA | VOUT (S) x 0,98 | VOUT(S) | VOUT (S) x1.02 | V | ||
| Tegangan Putus2 | VDROP | IOUT = 1mA | 4 | 8 | mV | |||
| IOUT = 1A | 1000 | 1500 | ||||||
| Peraturan Jalur | ![]() | VOUT (S) + 2V≤VIN≤40V IOUT = 1mA | 0.01 | 0.02 | %/V | |||
| Regulasi Beban | ∆VOUT2 | VIN = VOUT (S) + 2V 1mA≤IOUT≤300mA | VOUT (S) ≤10V | 20 | 80 | mV | ||
| VOUT (S)> 10V | 85 | 150 | ||||||
| Stabilitas Suhu | ![]() | VIN = VOUT (S) + 220V, OUT = 10mA -40 ℃ ≤ Ta≤85 ℃ | ±50 | ppm / ℃ | ||||
| Arus Diam | Iq | tidak ada beban VIN > VOUT (S) | VOUT (S) <5.0V | 0.8 | 1.6 | 2 | μA | |
| VOUT (S) ≥5.0V | 1.5 | 3 | 3.6 | |||||
| Tegangan Input | VIN | — | 2.2 | 40 | V | |||
| Arus Keluaran Maksimum | IOUTMAX | 1 | A | |||||
| Batas Saat Ini3 | ILIM | VIN = VOUT (S) + 2V, VOUT = 0,9 × VOUT (S) | 1.8 | A | ||||
| Arus Hubung Singkat | ISHORT | VIN = VOUT (S) + 2V, VOUT dan GND adalah 0Ω | 120 | mA | ||||
| Rasio Penolakan Catu Daya | PSRR | f = 10Hz, VOUT (S) = 3.6V | 73.2 | dB | ||||
| f = 100Hz, VOUT (S) = 3.6V | 72.2 | |||||||
| f = 1kHz, VOUT (S) = 3.6V | 54.5 | |||||||
| Lebih dari Perlindungan Suhu | OTP | IOUT = 10mA | 145 | ℃ | ||||
Catatan:
1. VOUT (S): Tegangan output ketika VIN= Vout +2V, Iout = 1 mA.
2. VDROP = Vin1 - (Vout (S) × 0,98) di mana Vin 1 adalah tegangan input ketika Vout = Vout (S) × 0,98.
3. ILIM: Arus keluaran saat Vin = Vout (S) + 2V dan Vout = 0,95 * Vout (S).
Informasi Pemesanan
| Model produk | Paket | Cara pengepakan | Jumlah kemasan minimum |
| SSP7903PxxPx | SOT89-3L | Reel | 1000 |
| SSP7903PxxPBx | SOT89-3L (B) | 1000 | |
| SSP7903PxxFx | SOT223 | 2500 | |
| SSP7903PxxFBx | SOT223 (B) | 2500 | |
| SSP7903PxxJx | TO252 | Tabung | 2500 |
Tabel Panduan Pemilihan
SSP7903P①②③④
| Penunjuk | Simbol | Deskripsi | Keterangan |
| ①② | Bilangan bulat | Tegangan Output (3.0V ~ 12.0V) | Contohnya, jika tegangan output 5.0V, ①② akan menjadi 50. |
| ③ | P | Paket: SOT89-3L | Definisi pin yang dienkapsulasi dijelaskan dalam penetapan pin di bawah ini. |
| PB | Paket: SOT89-3L (B) | ||
| F | Paket: SOT223 | ||
| FB | Paket: SOT223 (B) | ||
| J | Paket: TO252 | ||
| ④ | R | Bebas RoHS / Pb | |
| G | Bebas Halogen |
Catatan: "①②" adalah singkatan dari tegangan output. Tegangan output reguler adalah 3V, 3.3V, 3.6V, 4.0V, 5.0V, 12V. Voltase lainnya dapat disesuaikan secara khusus.



Shanghai Siproin
Perusahaan Mikroelektronika, Ltd.
Selamat datang di kontak Anda.